(1 ) Structure and working principle
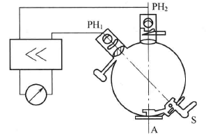
The Elrepho photometer is suitable for measuring the whiteness, color and opacity of paper and cardboard. Figure 2-16 shows its working principle. The inner wall of the spherical shell (commonly known as the integrating sphere) is coated with a white diffuse reflection layer, and the illuminance generated by any point on the spherical wall It is composed of many parts superimposed, and the photocurrent generated by them on the photocell is proportional . The reflectance is determined by comparison. Standards and samples are diffusely illuminated inside the reflectance photometer. The light reflected on the surface A of the sample and the surface of the standard plate S enters the two photocells PH1 and PHg respectively, and generates two currents in opposite directions. Comparing the magnitudes of the two currents, it can be concluded that the sample is relative to the standard plate. Reflectivity.

Figure 2-16 Elrepho photometer principle
(2) Calibration procedure
① Turn on the power switch, turn on the cooling water switch, and preheat the instrument for 15 minutes.
②Adjust the position of the optical filter, press the sensitive key, and the pointer of the galvanometer should point to zero. If the pointer of the galvanometer does not point to the zero point, the left knob should be adjusted so that the pointer of the galvanometer should point to the zero point.
③Adjust the position of the optical filter, first place the working standard plate on the sample bracket and align it with the test hole, then adjust the reading of the scale drum to the standard calibration position, press the sensitive key to make the reading of the galvanometer zero . If the pointer of the galvanometer does not point to the zero point, the right knob should be adjusted to make the pointer of the galvanometer point to the zero point.
(3) Test method
Put the multi-layer sample on the sample bracket and adjust it with the measuring drum so that the pointer of the galvanometer points to the zero point. At this time, the value indicated on the measuring scale drum is the whiteness of the sample. If the argon lamp system is used, the measurement of the whiteness of yellow light can also be carried out.
